Генератори
sale - Інверторні генератори
- Бензинові генератори
- Газобензинові генератори
- Дизельні генератори
- Дизельні електростанції
Дивитись все
Акумулятори
- Акумулятори гелеві (GEL)
- Акумулятори мультигелеві (AGM)
- Акумулятори свинцево-кислотні (AGM)
- Акумуляторні батареї LiFePO4
- Зарядні пристрої для АКБ
Дивитись все
Показати всі категорії
Готівкою | Післяплата | LiqPay | MonoPay | VISA/Mastercard | Миттєва розстрочка | Оплата частинами Приватбанк | Покупка частинами Monobank | Безготівково з ПДВ та без ПДВ
Нова Пошта | Meest | Укрпошта | Delivery | Доставка за адресою
*великогабаритні товари надсилаються після часткової передоплати
Обмін і повернення товару здійснюється протягом 14 днів після покупки, згідно закону України "Про захист прав споживачів"
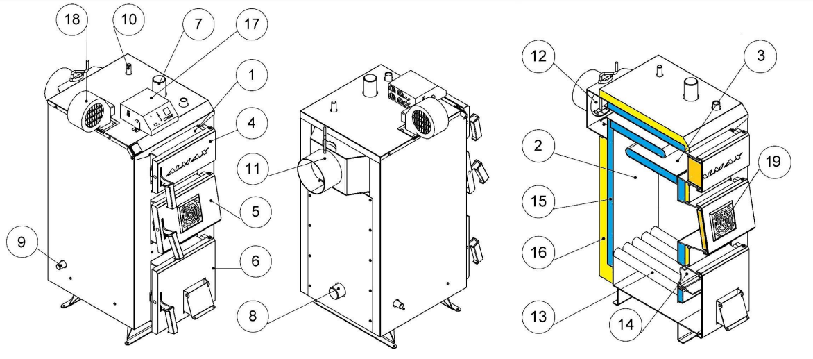
Котел твердопаливний ALMAX Class B 20 кВт має компактні габарити у поєднанні з великою топкою та працює на дровах, паливних брикетах, камяному вугіллю. Водонаповнені колосники -технологічне рішення, яке дозволяє уникнути прогорання ґрат. Вони зроблені з безшовної труби і наповнені водою, тому охолоджується сталь і додатково забирається тепло від палива. . Котли мають міцну сталеву конструкцію, де за основу була використана європейська жаростійка котлова сталь. В результаті вдалося забезпечити необхідний ступінь надійності та захисту від корозійного впливу. Для 20 кВт об'єм топки становить 86 дм3.
Як основні види палива використовують:
Експлуатація твердопаливного котла здійснюється в режимі ручного завантаження палива, що дає змогу контролювати необхідну кількість дозавантаження.
Експлуатувати твердопаливні котли Almax Class B 20 кВт тривалого горіння можна в різних будівлях, приміщеннях – побутові, промислові, комерційні.
На практиці доведено, що найвищий ККД досягається при використанні кам'яного вугілля – здійснюється максимально висока тепловіддача. Експлуатація обладнання можлива в приміщеннях, де вже є система центрального опалення.
| Виробник | Almax |
| Країна виробник | Україна |
| Потужність номінальна | 25 кВт |
| Види твердого палива | Дрова, Тріска, Брикети, Кам'яне вугілля, Антрацит |
| Автоматична подача палива | Ні |
| Коефіцієнт корисної дії (ККД) | 85 % |
| Об'єм камери згоряння | 104 л |
| Об'єм води в котлі | 67 л |
| Матеріал теплообмінника | Сталь |
| Спосіб відведення відпрацьованих газів | Димар |
| Максимальна температура димових газів | 180 °C |
| Площа обігріву | 250 кв.м |
| Колір | Сірий |
| Вага | 211 кг |
| Гарантійний термін | 36 міс |
| Товщина сталі | 5 мм |
| Мінімальний робочий тиск системи опалення | 1.5 бар |
| Максимальний робочий тиск системи опалення | 2 бар |
| Мінімальна температура в режимі опалення | 58 °C |
| Максимальна температура в режимі опалення | 90 °C |
| Висота | 1240 мм |
| Ширина | 555 мм |
| Глибина | 1085 мм |
| Вхід в систему опалення | 2" |
| Повернення з системи опалення | 2" |
| Діаметр димоходу | 180 мм |
| Форма димаря | Кругла |


Я приймаю користувальницьку угоду




