Генератори
sale - Інверторні генератори
- Бензинові генератори
- Газобензинові генератори
- Дизельні генератори
- Дизельні електростанції
Дивитись все
Акумулятори
- Акумулятори гелеві (GEL)
- Акумулятори мультигелеві (AGM)
- Акумулятори свинцево-кислотні (AGM)
- Акумуляторні батареї LiFePO4
- Зарядні пристрої для АКБ
Дивитись все
Показати всі категорії
Готівкою | Післяплата | LiqPay | MonoPay | VISA/Mastercard | Миттєва розстрочка | Оплата частинами Приватбанк | Покупка частинами Monobank | Безготівково з ПДВ та без ПДВ
Нова Пошта | Meest | Укрпошта | Delivery | Доставка за адресою
*великогабаритні товари надсилаються після часткової передоплати
Обмін і повернення товару здійснюється протягом 14 днів після покупки, згідно закону України "Про захист прав споживачів"
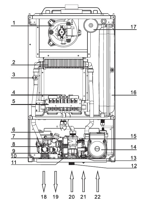
Газовий котел турбований Hi-Therm OPTIMUS PRO DC-24U - настінний газовий, двоконтурний (опалення і гаряче водопостачання). Номінальна теплова продуктивність, макс/мін 24/8,4 кВт. Призначений для роботи в системах опалення та гарячого водопостачання. Ідеально використання для систем приватного і поквартирного опалення. Гідравлічна група з латуні, два роздільних теплообмінника, турбінний датчик протоки, можливість підключення кімнатного термостата і погодозалежне регулювання - все це забезпечує комфорт споживачеві і гарантує надійну експлуатацію.
Мікрощілинний секційний атмосферний пальник з нержавіючої сталі. Він відповідає за рівномірний розподіл полум’я, так зване «килимове полум’я», завдяки якому відбувається повніше згоряння газу, вода в теплообміннику прогрівається швидше та єфектівніше, зменшуючи витрату газу та збільшуючи ККД. Матеріал пальника – нержавіюча сталь.
| Тип котла | Конвекційний (опалювальний) |
| Площа обігріву (кв.м) | 240 |
| Максимальний тиск води | 8 |
| Макс. t системи опалення | 80 |
| Спосіб встановлення | Настінний |
| Тип димоходу | Турбований |
| Рівень шуму (Дб) | 42 |
| Теплова потужність (кВт) | 24 |
| ККД, % | 92 |
| Колір | Білі |
| Кількість контурів | Двоконтурний (опалення + ГВС) |
| Макс. тиск в контурі опалення | 3 |
| Тип розпалювання | Електронний (автоматичний) |
| Вага (кг.) | 28,50 |
| Ємність розширювального бака | 8 |
| Країна виробник | Китай |
| Габарити ( ШхВxГ ) см. | 69 x 41,7 x 25,4 |
| Гарантія на котел | 36 міс |


Я приймаю користувальницьку угоду


