Генератори
sale - Інверторні генератори
- Бензинові генератори
- Газобензинові генератори
- Дизельні генератори
- Дизельні електростанції
Дивитись все
Акумулятори
- Акумулятори гелеві (GEL)
- Акумулятори мультигелеві (AGM)
- Акумулятори свинцево-кислотні (AGM)
- Акумуляторні батареї LiFePO4
- Зарядні пристрої для АКБ
Дивитись все
Показати всі категорії
Готівкою | Післяплата | LiqPay | MonoPay | VISA/Mastercard | Миттєва розстрочка | Оплата частинами Приватбанк | Покупка частинами Monobank | Безготівково з ПДВ та без ПДВ
Нова Пошта | Meest | Укрпошта | Delivery | Доставка за адресою
*великогабаритні товари надсилаються після часткової передоплати
Обмін і повернення товару здійснюється протягом 14 днів після покупки, згідно закону України "Про захист прав споживачів"
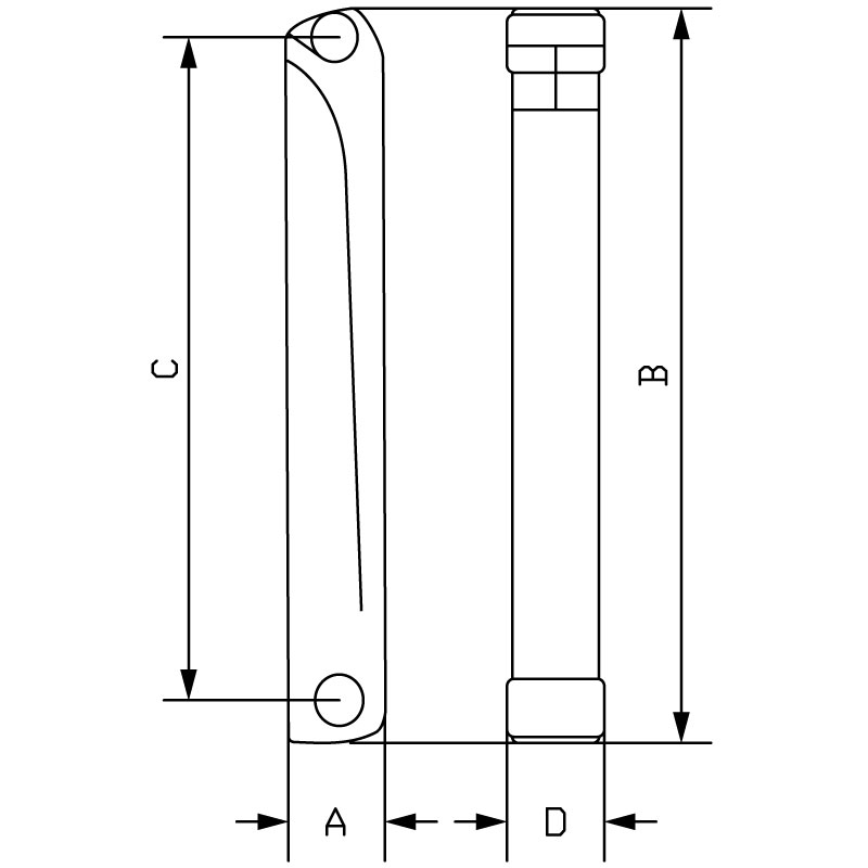
Біметалевий радіатор Koer Bimetal KR.80Bi-500 SMART - відлитий під тиском, складається з окремих елементів – секцій, з’єднаних між собою за допомогою ніпелів. Герметичність у місцях з’єднання секцій забезпечується ущільнювальними прокладками. Вертикальна вкладка у вигляді сталевої трубки, підвищена товщина втулок і висока якість спеціального алюмінієвого сплаву гарантують виняткові експлуатаційні характеристики. Фарбування проводиться методом анафорезу, із заключною фазою у вигляді епоксидно-поліефірного розпилення. В результаті радіатор набуває бездоганного покриття білого кольору RAL 9016. Фарба наноситься на всю поверхню радіаторів, як з лицьової та тильної сторін, так і з торців – між оребренням.
| Міжосьова відстань С (мм) | 500 |
| Глибина А (мм) | 78 |
| Висота В (мм) | 567 |
| Ширина D (мм) | 78 |
| Вага прибл. (кг) | 1,38 |
| К-сть води (л) | 0,25 |
| Тепловіддача (∆Т=70℃) (Вт) | 144 |
| Тепловіддача (∆Т=50℃) (Вт) | 94 |
| Максимальний робочий тиск (бар) | 46 |
| Тиск при гідравлічних випробуваннях (бар) | < 52 |
| Тиск на розрив (бар) | > 55 |
| Максимальна температура теплоносія (°C) | 110 |
| Показник рН теплоносія | 6,5 ÷ 8,5 (оптимальний: 7 ÷ 8) |

Інструкція Біметалевий радіатор Koer Bimetal KR.80Bi-500 SMART
Я приймаю користувальницьку угоду




