Генераторы
sale - Бензиновые генераторы
- Газобензиновые генераторы
- Дизельные генераторы
- Инверторные генераторы
- Дизельные электростанции
Смотреть все
Аккумуляторы
- Аккумуляторы гелевые (GEL)
- Аккумуляторы мультигелевые (AGM)
- Аккумуляторные батареи LiFePO4
- Аккумуляторы свинцово-кислотные (AGM)
- Зарядные устройства для АКБ
Смотреть все
Источники бесперебойного питания
- ИБП для роутеров
- ИБП с правильной синусоидой
- ИБП линейно-интерактивные
- ИБП Smart Online
Мобильные солнечные зарядки, электростанции
- Портативные зарядные станции
- Портативные солнечные панели
Смотреть все категории
Стальные радиаторы
Наличными | Наложенный платеж | LiqPay | MonoPay | VISA/Mastercard | Мгновенная рассрочка Оплата частями ПриватБанка | Покупка по частям Monobank | Безналично с НДС и без НДС
Новая Почта | Meest | Укрпочта | Delivery | Доставка по адресу
*крупногабаритные товары присылаются после частичной предоплаты
Обмен и возврат товара осуществляется в течение 14 дней после покупки согласно закону Украины "О защите прав потребителей"
Счетчик горячей воды ETKD-N Ду 15 – это современная немецкая модель премиум-класса от Zenner, специально оптимизированная для учета горячей воды в квартирах. Он относится к высокому метрологическому классу точности R160 (Q3/Q1 = 160). Прибор чувствительно регистрирует даже очень малые расходы горячей воды – начиная от примерно 10 литров в час. Сухая конструкция механизма полностью исключает запотевание, конденсат и помутнение циферблата при высоких температурах. Модель разработана для стабильной и продолжительной работы с горячей водой до +90 °C. Потеря давления составляет всего 0,63 бар при номинальном расходе 2,5 м³/ч — один из лучших показателей в классе Ду 15. Счетчик оснащен усиленной антимагнитной защитой, что делает попытки внешнего воздействия максимально сложными. Он полностью готов для установки модулей дистанционного считывания любого типа без дополнительных адаптеров. Благодаря сверхкомпактным размерам (длина 80 мм, высота 77 мм), прибор идеально подходит для монтажа в тесных местах и старых домах. Изготовленный в Германии с использованием премиальных материалов, ETKD-N гарантирует стабильную точность и безупречную работу в течение 12–15 лет и более – это надежный выбор «установил и забыл».
| Номинальный объемный расход Q3, м³/ч | 2,5 |
| По сравнению с номинальным потоком Qn, м³/ч | 1,5 |
| Достигаемый диапазон измерения Q3/Q1 R | 80H/40V |
| Стандартный диапазон измерения Q3/Q1 R | 80H/40V |
| Максимальный объемный расход Q4, м³/ч | 3,125 |
| Минимальный объемный расход Q1, л/ч | 31H/63V |
| Порог чувствительности, л/ч | <10 |
| Диапазон показателей мин., л | 0,02 |
| Диапазон показателей макс., м³ | R8 99 999,999/R7 99 999,99 |
| Температурный диапазон T30, °C | 0,1–30 |
| Температурный диапазон T90, °C | 30-90 |
| Рабочее давление, макс. MAP, бар | 16 |
| Вес импульса, л/имп. | 1/10 |
| Потеря давления при Q3 Δp, бар | 0,63 |
| Механическое состояние окружающей среды | M1 |
| Климатические условия, °C | 5–70 |
| Чувствительность профиля потока | U0/D0 |
| Номинальный диаметр Ду, мм | 15 |
| Номинальный диаметр, дюйм | ½ |
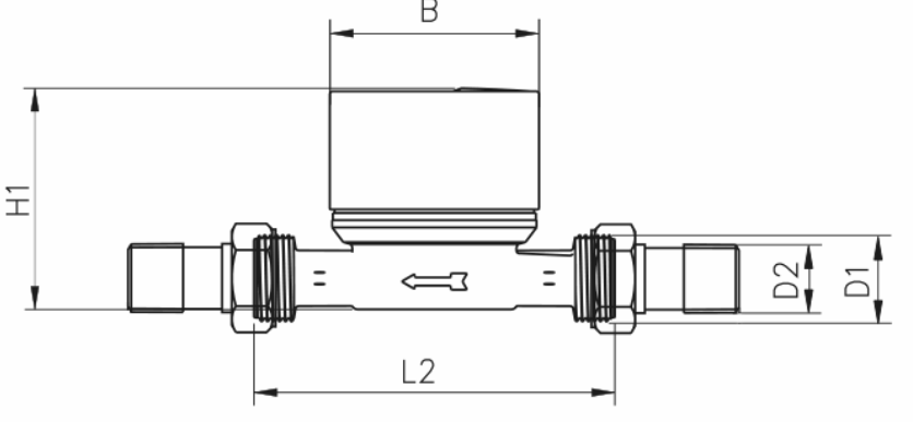
| Длина без штуцеров L2, мм | 80 |
| Резьба G x B, дюйм | ¾ |
| Резьба штуцера, дюйм | ½ |
| Ширина B, мм | 66 |
| Высота H1, мм | 77 |
| Вес, кг | 0,42 |


Я принимаю пользовательское соглашения
