Генераторы
sale - Бензиновые генераторы
- Газобензиновые генераторы
- Дизельные генераторы
- Инверторные генераторы
- Дизельные электростанции
Смотреть все
Аккумуляторы
- Аккумуляторы гелевые (GEL)
- Аккумуляторы мультигелевые (AGM)
- Аккумуляторные батареи LiFePO4
- Аккумуляторы свинцово-кислотные (AGM)
- Зарядные устройства для АКБ
Смотреть все
Источники бесперебойного питания
- ИБП для роутеров
- ИБП с правильной синусоидой
- ИБП линейно-интерактивные
- ИБП Smart Online
Мобильные солнечные зарядки, электростанции
- Портативные зарядные станции
- Портативные солнечные панели
Смотреть все категории
Стальные радиаторы
Наличными | Наложенный платеж | LiqPay | MonoPay | VISA/Mastercard | Мгновенная рассрочка Оплата частями ПриватБанка | Покупка по частям Monobank | Безналично с НДС и без НДС
Новая Почта | Meest | Укрпочта | Delivery | Доставка по адресу
*крупногабаритные товары присылаются после частичной предоплаты
Обмен и возврат товара осуществляется в течение 14 дней после покупки согласно закону Украины "О защите прав потребителей"
Счетчик горячей воды Zenner MTWD Ду 32 – это мощный многопоточный сухоходный водомер премиум-класса от немецкого производителя Zenner, специально созданный для учета горячей воды в частных домах, коттеджах, небольших многоквартирных домах и коммерческих объектах с высоким потреблением. Он относится к высокому метрологическому классу точности R160 (горизонтально), соответствующему классу B по старой классификации. Сухоходная конструкция с герметичной капсулой счетного механизма полностью исключает запотевание, конденсат и помутнение циферблата даже при длительной работе с горячей водой до +90 °C. Прибор имеет высокую чувствительность – минимальный расход ≈63 л/ч горизонтально, переходный ≈100 л/ч. Номинальный расход Q₃ = 10,0 м³/ч и максимальный Q₄ до 12,5–16 м³/ч позволяют без проблем обслуживать несколько мощных точек водоразбора одновременно (душ, ванна, кухня, бойлер и т.п.). Потеря давления очень низкая – около 0,7–0,9 бар при номинальном расходе. Модель оснащена 8-разрядным регистром и модуляторным диском для полной готовности к дистанционному считыванию (LoRaWAN, wM-Bus, M-Bus, Pulse). Корпус изготовлен из экологичной бессвинцовой латуни, монтажная длина 260 мм идеально подходит для стандартных узлов учета Ду 32. Прибор имеет усиленную антимагнитную защиту и класс защиты IP68. Изготовленный в Германии с использованием премиальных материалов, MTWD Ду 32 гарантирует стабильную точность и безотказную работу в течение 12–15 лет и более – это профессиональное решение «установил один раз и забыл» для горячей воды с большим потреблением.
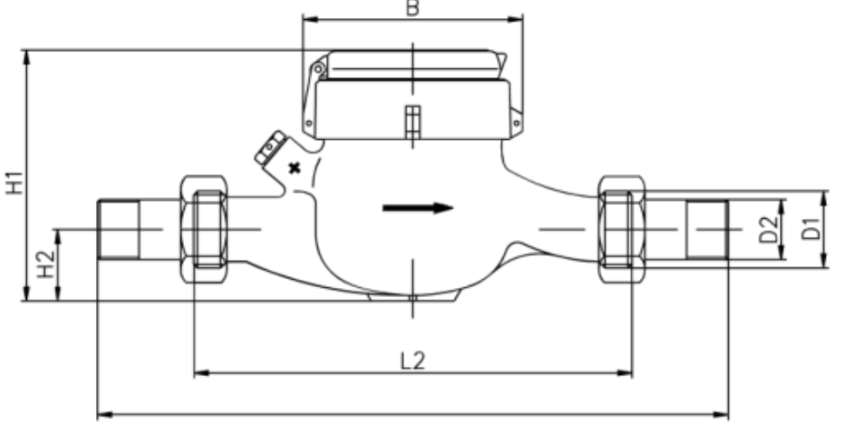
| Выполнение | "В" (сухоходный, для горячей воды) |
| Номинальный диаметр (Ду) | 32 мм (1¼") |
| Длина корпуса (L) | 260 мм |
| Номинальный расход Q3 | 10,0 м³/час |
| Номинальный поток Qn | 6,0 м³/час |
| Максимальный расход Q4 | 12,5–16 м³/час (в зависимости от конфигурации) |
| Минимальный расход Q1 | ~63 л/час(H) / 250 л/ч(V) |
| Переходный расход Q2 | ~100 л/час (H) / 400 л/час (V) |
| Диапазон измерения (R) | R160 (H:160/V:40) |
| Класс точности | B |
| Температурный диапазон | до +90 °C (горячая вода) |
| Рабочее давление (MAP) | до 16 бар |
| Диапазон показателей | от 0,1 л до 99 999 м³ |
| Тип присоединения | Муфтовый |
| Резьба присоединения (D1) | G1½B |
| Резьба штуцера (D2) | G1¼ |
| Ширина корпуса (B) | ~95 мм |
| Высота (H1, пластик/стекло) | 120–125 мм |
| Вес | ~2,2 кг |
| Защита | IP68 – сухой счетный механизм в герметичной капсуле |
| Особенности | 8-разрядный регистр, модуляторный диск для дистанционного считывания (LoRaWAN®, wM-Bus, M-Bus/Pulse) |


Я принимаю пользовательское соглашения
